Odwadniacze pompujące

Urządzenia do odzyskiwania kondensatu Odwadniacze pompujące
GL11-A
Może być używany w strefach zagrożonych wybuchem

Funkcje/zastosowania
Cechy produktu
Oszczędność energii
Odwadniacze pompujące są w stanie podawać kondensat pod niskim ciśnieniem do wysokociśnieniowych linii odzyskiwania kondensatu w wyższych lub odległych lokalizacjach. Zastosowanie tego produktu umożliwia odzyskanie i efektywne zużycie niewykorzystanej wcześniej energii cieplnej kondensatu, co przyniesie znaczne korzyści w zakresie oszczędności energii.
Zasilanie elektryczne nie jest wymagane
Wypycha kondensat za pomocą ciśnienia czynnika napędowego*, dzięki czemu można go łatwo zamontować w strefach zagrożonych wybuchem.
Nie ma potrzeby doprowadzania dodatkowej sieci energetycznej do oddalonych instalacji.
*Oprócz pary czynnikiem napędowym może być sprężone powietrze, azot lub inne podobne gazy.
Niska głowica napełniająca
Odwadniacze pompujące firmy MIYAWAKI mają bardzo niską wysokość napływu, co zapewnia dobrą wydajność bez konieczności stosowania wyższych kolektorów.
Typowe zastosowania
● Odzysk kondensatu niskociśnieniowego (w połączeniu z kolektorami)
● Wspomaganie odprowadzania kondensatu z wymienników ciepła pracujących blisko wartości 0 barg lub poniżej
● Eliminacja martwego punktu
*Martwy punkt to zjawisko polegające na tym, że odwadniacz pary nie działa z powodu spadku ciśnienia po stronie pierwotnej urządzenia i wewnątrz gromadzi się kondensat. Nie tylko uniemożliwia to odprowadzanie kondensatu, ale również skutkuje zwiększonym prawdopodobieństwem wystąpienia uderzeń hydraulicznych lub korozji wymiennika ciepła.
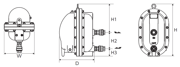
Wymiary/masa
Wymiary/masa

Wymiary (mm) |
Przestrzeń konserwacyjna (mm) |
Wymiary (in) |
Przestrzeń konserwacyjna (in) |
Masa | Masa podczas pracy | ||||||||||||||
H | H1 | H2 | H3 | H4 | D | W | H | H1 | H2 | H3 | H4 | D | W | (kg) | (lb) | (kg) | (lb) | ||
E | E | ||||||||||||||||||
495 | 270 | 154 | 70 | 413 | 325 |
280 |
170 lub więcej | 19.5 | 10.6 | 6.1 | 2.8 | 16.3 | 12.8 | 11.0 | 6.7 lub więcej | 54,0 | 119.1 | 63,0 | 138.9 |
Parametry techniczne
Model | Przyłącze | Maks. ciśnienie robocze | Maks. temperatura robocza | Środek napędzający | ||||||
Type | Wielkość |
PMO (MPa) |
PMO (psig) |
TMO (℃) |
TMO (℉) |
|||||
Wlot kondensatu | Wylot kondensatu | Wlot środka napędzającego | Wylot | |||||||
GL11-A |
Wkręcony Rc |
1” |
1” |
1/2” |
1/2” |
1,05 | 152.25 | 185 | 365 | Para nasycona / sprężone powietrze / azot |
●Maksymalne dopuszczalne ciśnienie (PMA): 1,6MPa (at 220℃) (232psig (428℉))
●Maksymalna dopuszczalna temperatura (TMA): 220℃ (1,6MPa) (428℉ (232psig))
●GL11-A zawiera następujące komponenty.
Zawór zwrotny CVC3 (materiał korpusu: stal nierdzewna) 25A (1”) x2
Sutek (materiał: stal nierdzewna) 25A (1”) x2
*Należy używać standardowych akcesoriów do zaworu zwrotnego.
Wykres wydajności
Wysokość napływu | Współczynniki FH | |
mm | in | |
120 | 4.7 | 0,79 |
300 | 11.8 | 0,92 |
460 | 18.1 | 1,00 |
700 | 27.6 | 1,06 |
1000 | 39.4 | 1,11 |
1100 | 43.3 | 1,12 |
Wydajność dla innych wysokości napływu:
Aby uzyskać wartość wydajności dla innych wysokości napływu, pomnożyć
wartość wydajności z wykresu przez „współczynniki FH”.
Przykłady montażu
Cechy produktu
Oszczędność energii
Odwadniacze pompujące są w stanie podawać kondensat pod niskim ciśnieniem do wysokociśnieniowych linii odzyskiwania kondensatu w wyższych lub odległych lokalizacjach. Zastosowanie tego produktu umożliwia odzyskanie i efektywne zużycie niewykorzystanej wcześniej energii cieplnej kondensatu, co przyniesie znaczne korzyści w zakresie oszczędności energii.
Zasilanie elektryczne nie jest wymagane
Wypycha kondensat za pomocą ciśnienia czynnika napędowego*, dzięki czemu można go łatwo zamontować w strefach zagrożonych wybuchem.
Nie ma potrzeby doprowadzania dodatkowej sieci energetycznej do oddalonych instalacji.
*Oprócz pary czynnikiem napędowym może być sprężone powietrze, azot lub inne podobne gazy.
Niska głowica napełniająca
Odwadniacze pompujące firmy MIYAWAKI mają bardzo niską wysokość napływu, co zapewnia dobrą wydajność bez konieczności stosowania wyższych kolektorów.
Typowe zastosowania
● Odzysk kondensatu niskociśnieniowego (w połączeniu z kolektorami)
● Wspomaganie odprowadzania kondensatu z wymienników ciepła pracujących blisko wartości 0 barg lub poniżej
● Eliminacja martwego punktu
*Martwy punkt to zjawisko polegające na tym, że odwadniacz pary nie działa z powodu spadku ciśnienia po stronie pierwotnej urządzenia i wewnątrz gromadzi się kondensat. Nie tylko uniemożliwia to odprowadzanie kondensatu, ale również skutkuje zwiększonym prawdopodobieństwem wystąpienia uderzeń hydraulicznych lub korozji wymiennika ciepła.
Wymiary/masa

Wymiary (mm) |
Przestrzeń konserwacyjna (mm) |
Wymiary (in) |
Przestrzeń konserwacyjna (in) |
Masa | Masa podczas pracy | ||||||||||||||
H | H1 | H2 | H3 | H4 | D | W | H | H1 | H2 | H3 | H4 | D | W | (kg) | (lb) | (kg) | (lb) | ||
E | E | ||||||||||||||||||
495 | 270 | 154 | 70 | 413 | 325 |
280 |
170 lub więcej | 19.5 | 10.6 | 6.1 | 2.8 | 16.3 | 12.8 | 11.0 | 6.7 lub więcej | 54,0 | 119.1 | 63,0 | 138.9 |
Model | Przyłącze | Maks. ciśnienie robocze | Maks. temperatura robocza | Środek napędzający | ||||||
Type | Wielkość |
PMO (MPa) |
PMO (psig) |
TMO (℃) |
TMO (℉) |
|||||
Wlot kondensatu | Wylot kondensatu | Wlot środka napędzającego | Wylot | |||||||
GL11-A |
Wkręcony Rc |
1” |
1” |
1/2” |
1/2” |
1,05 | 152.25 | 185 | 365 | Para nasycona / sprężone powietrze / azot |
●Maksymalne dopuszczalne ciśnienie (PMA): 1,6MPa (at 220℃) (232psig (428℉))
●Maksymalna dopuszczalna temperatura (TMA): 220℃ (1,6MPa) (428℉ (232psig))
●GL11-A zawiera następujące komponenty.
Zawór zwrotny CVC3 (materiał korpusu: stal nierdzewna) 25A (1”) x2
Sutek (materiał: stal nierdzewna) 25A (1”) x2
*Należy używać standardowych akcesoriów do zaworu zwrotnego.
Wysokość napływu | Współczynniki FH | |
mm | in | |
120 | 4.7 | 0,79 |
300 | 11.8 | 0,92 |
460 | 18.1 | 1,00 |
700 | 27.6 | 1,06 |
1000 | 39.4 | 1,11 |
1100 | 43.3 | 1,12 |
Wydajność dla innych wysokości napływu:
Aby uzyskać wartość wydajności dla innych wysokości napływu, pomnożyć
wartość wydajności z wykresu przez „współczynniki FH”.